2025年的新能源汽車戰場,早已血流成河。當一眾新勢力在“內卷”中掙扎求生,一家名為“埃尚”的品牌卻以一種近乎荒誕的方式闖入戰場——廣西汽車集團手握商用車資質,卻無乘用車門票;河南森源深陷債務泥潭,唯剩一紙生產資質。
兩家“弱勢”國企的“聯姻”,使埃尚汽車從誕生之初就面臨靈魂拷問:一個“借腹生子”、品牌模糊、異地生產的“混血兒”,如何贏得消費者的信任?在巨頭環伺、價格戰慘烈的今天,讓人很難看好其未來。

出身謎團:地方國資的“前臺首秀”
初見埃尚,那個與五菱經典徽標有著千絲萬縷聯系的菱形標志,很容易讓人聯想到創造了秋名山傳說的五菱神車。不過,深挖其股權關系不難發現,埃尚汽車與五菱并無直接血緣關系,其母公司雖同屬“五菱”體系,卻非大眾熟知的“上汽通用五菱”,而是廣西汽車集團全新打造的新能源乘用車品牌。

廣西汽車集團五菱大廈
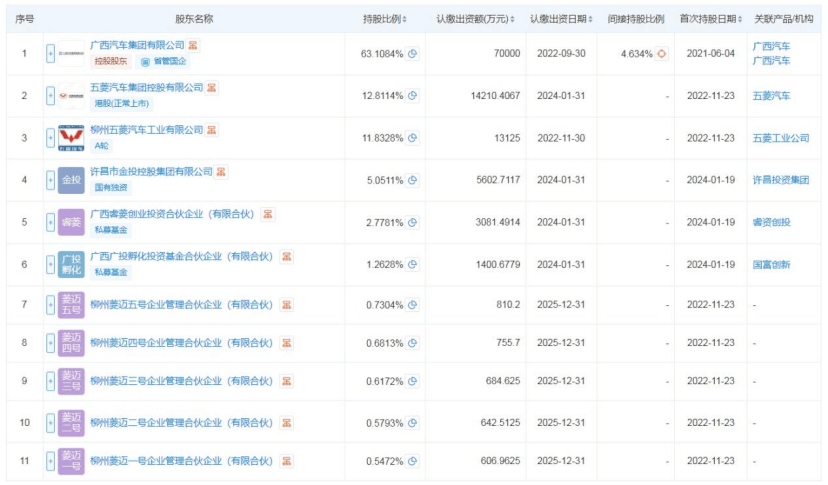
查詢公開信息可見,埃尚汽車微信公眾號認證主體為柳州五菱新能源汽車有限公司,而通過天眼查查詢,該公司大股東為廣西汽車集團,持股比例為63.1084%。由此可見,廣西汽車集團這個五菱品牌的創始元老,在目睹“小弟”在新能源賽道大放異彩后,不再滿足于幕后角色,決心親自下場。

不過,一家來自河南許昌的國有獨資企業——許昌市金投控股集團有限公司,也赫然出現在股東名單中,持股比例為5.0511%,為第四大股東。而值得注意的是,在埃尚汽車推出的首款車型埃尚A100C上,其車尾右側恰好寫有森源二字。就在9月25日,河南森源電動汽車有限公司“埃尚A100C”首臺量產車下線儀式在森源電動汽車產業園舉行。

眾所周知,河南森源集團來自河南許昌,成立于1992年,是當地最大的民營企業,在智能電氣領域名氣很大。早在2015年,趁著新能源汽車政策的春風,森源集團先是成立了森源電動汽車有限公司,后在許昌投資100億元欲打造河南省最大的純電動乘用車生產基地,總占地3000畝,年產20萬輛純電動汽車及50萬套核心零部件,并涉足新能源光伏發電和充電樁領域。

然而,前期的巨大投入,并未帶來應有的回報,不久后森源集團深陷資金鏈困局,舉步維艱,并將上市公司森源電氣“拖下水”;此外,森源重工長期拖欠員工工資,面臨經營困難。
公開信息顯示,自2020年以來,森源電氣被質押股票多次被司法拍賣,森源集團多次被列為失信被執行人,被執行標的總金額高達幾十億元。與此同時,森源集團實際控制人楚金甫被列為失信被執行人,被限制高消費,79.55%的股權全部被凍結。在高額債務面前,森源電氣無奈“委身”國資,以股權換求生。

看到這,或許不少網友滿臉問號,廣西汽車集團多少屬于汽車資深玩家了,并且柳州當地的汽車產業經過這么多年的發展,整車和零部件產業已經非常完善,為啥還要跑到千里之外的河南許昌生產汽車?并且合作對象還有一段不堪回首的過往。其實,現實情況遠比你我想象的要殘酷。
資質困局:“借腹生子”的無奈
“舍近求遠”的答案,指向中國汽車制造業的核心命題——“生產資質”。
自2017年起,發改委和工信部收緊了造車資質的審批,主要是為了避免生產過剩和防范部分新勢力企業騙補,讓汽車行業發展得更加規范、健康。再加上造車資質嚴格區分為商用車和乘用車兩類,不可混用。對于沒有造車資質的企業而言,就得想盡各種辦法拿到“入場券”。

就廣西汽車集團而言,其“汽車老炮”的身份不假,但手握的是新能源商用車資質,缺乏進軍乘用車市場的關鍵“門票”。若眼下如果從頭申請乘用車資質,不僅流程漫長,要耗費相當長時間,且成功率難以保證。在新能源汽車市場“三個月一代”的快速迭代中,時間就是生命,若等資質到手,市場窗口恐已關閉。因此,“借腹生子”——通過森源手里的資質將產品快速落地,成為埃尚汽車最現實的選擇。

但需要指出的是,這場合作遠非簡單的商業代工。如上文所述,代工方河南森源背后的許昌國資委,其實是埃尚運營方——柳州五菱新能源汽車有限公司的股東之一。也就是說,這是一場跨越地域的國有資本深度綁定:廣西方面出品牌、技術、市場策略;河南方面出資質、廠房、生產能力。通過股權交叉,兩地國企結成了利益共同體。

對于這種創新模式,黃河科技學院客座教授張翔分析認為:“當前新能源汽車增長非常迅猛,廣西汽車集團和河南森源的這種合作模式還是可行的,商業前景可期。”但他同時指出了嚴峻挑戰,“森源做商用車出身,知名度低,技術基礎單薄,這是一大隱憂。更重要的是,A00級車市場已經飽和,產能過剩,而且這個細分市場正在萎縮。”
張翔進一步解釋道,隨著消費升級,消費者在經濟收入提高后更傾向于購買空間更大、配置更高的A級或B級車。“森源進入市場的時間明顯滯后了,A00級車的黃金時代已經過去。雖然現在市場仍有需求,但它確實錯過了最好的發展時機。”

生死時速:亂世中的生存概率
回顧中國新能源汽車發展史,類似埃尚汽車這樣的“借腹生子”并非首例,其面臨的挑戰與數年前的“自游家”頗為相似——后者由前華為高管李一男創立,同樣因資質問題選擇與大乘汽車合作,最終因合作方自身難保而“夭折”。
同樣由于沒有生產資質,自游家選擇與眾泰系的大乘汽車聯手造車。無奈大乘汽車并非可靠合作伙伴,這家身陷泥潭的車企,也已多年沒有生產新車。而根據工信部2018年的要求,對于停產12個月以上的新能源車企,再次生產需要經過工信部的核查,不能保持準入條件或已經破產的企業,可能會被撤銷資質。

這使得官宣上市僅兩個月的自游家NV很快“胎死腹中”,這家造車新勢力不得不官宣倒閉,上演了一場“上市即退場”的鬧劇,最終淪為車市笑柄。由此來看,靠“借腹生子”模式的成功者寥寥無幾,失敗者卻是大多數。
與此同時,一個無法忽視的事實,在新能源汽車市場,品牌認知直接影響著消費者的信任和忠誠。埃尚汽車這種復雜的"身世",讓其從誕生之初就面臨著"我是誰"的身份認同危機。當消費者看到車尾的"森源"標志時,難免會產生疑問:這究竟是一個傳承五菱基因的品牌,還是一個借殼上市的新玩家?
這種品牌認知的混亂,可能會成為埃尚汽車征戰市場的一大隱憂。在競爭日益激烈的新能源汽車市場,清晰的品牌定位和深入人心的品牌形象,往往比產品本身更重要。

由此來看,當下的埃尚汽車面臨的挑戰不可謂不嚴峻:一方面要消化異地生產的額外成本,給出有競爭力的售價;另一方面要在眾多競爭對手中建立品牌認知;同時還要確保產品質量穩定可靠,這些都是擺在這個新生品牌眼前的難題。
【結語】埃尚汽車的誕生,可謂一場豪賭。賭的是異地代工模式能否跑通,賭的是千公里供應鏈的成本控制,賭的是消費者對一個“借腹生子”品牌的認可。從柳州到許昌,這場豪賭沒有退路——在新能源汽車的亂世中,要么殺出一條血路,成為國資轉型的典范;要么如流星劃過,成為行業洗牌中的又一個注腳。不妨讓子彈多飛一會兒,不久后答案或將揭曉。